哈囉大家好我是鳥嘴,今天來幫朋友清洗化油器

接到高中同學的聯絡,聽說他要洗化油器,我就問能否有個寫部落格的機會,於是他就答應了,真是感謝他,也順勢來跟同學敘舊

問題症狀:
之前同學在驗排氣時,這台車驗不過,請車行調整,車行很不情願,然後建議同學買新的化油器... (一顆要價$4000啊~~~)
在與車行交涉後,車行終於願意幫他調整,上環保網站輸入車牌號碼就能查到當初調整後的結果

檢查檢驗值中的CO(%)值有點過高 (標準值 4.5),只要進去烏賊車檢舉站就能知曉怎麼處理這個問題

當 CO 值過高HC正常的時候,可以:
1.空氣濾清器檢查或更換
2.化油器檢查 & 清洗 或更換
3.排氣管檢查或更換
4.火星塞間隙正確或積碳
5.調整混和比螺絲

總之,同學買了化油器維修包,就準備來上工了

step 1.拆下化油器
要拆化油器,得要先拆坐墊

將油箱開關關起來

拆油箱

拆油門線


拆鬆空濾箱的螺絲

拆阻風門 (Q鈕)

拆卸化油器兩端的束環螺絲

拆卸進氣岐管螺絲 (這兩顆螺絲生鏽了,卡得超級死了...)

OK,拆下來

step 2.分解化油器
仔細看看化油器通風管裡面,沒有想像中的髒


拆油氣混和螺絲

拆卸油螺絲

拆卸化油器油底殼

看到了很多淤積的髒髒

看到這裡,同學有點受挫,因為這形狀完全跟他買的維修包不一樣XD

拆浮筒

三角油針

拆高速油嘴

拆怠速油嘴

紀錄一下原車的油嘴番號
高速油嘴#125

怠速油嘴#135

拆化油器上蓋 (這4顆螺絲也是鏽死...)

拆節流閥

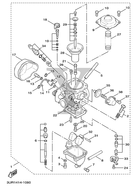
拆到這裡就可以開始清潔了,可惜忘記拍分解照,只好用維修手冊的圖面

step 3.清洗化油器
本次清潔化油器使用大部分的家庭五金行都有賣的"化油清潔劑",搭配小牙刷,刷刷刷...

怎麼拆就怎麼裝回去吧~




step 4.調整化油器
調整化油器的方式,在網路上有很多,讓我覺得最清晰的是這部:
https://www.youtube.com/watch?v=d81nB1_KHOc
一台代步車要做的,就是把油氣混和比調整到怠速穩定就好,後續要改裝高速油嘴低速油嘴的再說了,將車子原地怠速到熱車,然後調整油氣混和比螺絲從二圈慢慢的逆時針轉到快熄火,這時候混和比會過濃,然後再順時針慢慢轉,轉到怠速偏高且穩定的狀態,注意調整這顆螺絲的時候,手還蠻容易被引擎燙到,之後記得戴手套來調整它

調好之後,就這麼騎出門,去附近河堤晃晃,我根本沒想過,修車的興趣曾經被家人數落,而經過時間的累進,家人漸漸能接受與支持,今天竟然能因為這興趣,把接近十年不見的老友拉回生活圈

最後 : 感謝老友煮豐富好吃的起司蛋餅與咖啡給我當早餐,還有老友女朋友買高工附近的麻辣火鍋,吃得好飽~

留言列表


{{ article.title }}